×
模态框(Modal)标题
在这里添加一些文本
Close
Close
Submit
Cancel
Confirm
×
模态框(Modal)标题
×
Welcome to visit China Journal of Highway and Transport,Today is
Share:
Toggle navigation
Home
About Journal
Editorial Board
Instruction
Publishing Ethics
Journal Online
Just Accepted
Current Issue
Archive
Most Access
Most Download
Most Cited
Email Alert
RSS
Subscription
Contact Us
中文
Figure/Table detail
Effect of Web Key Tooth Inclination on Mechanical Properties of a Segmental Assembled Box Girder
Xiang-yan FAN, Lai-jun LIU, Fang-wen WU, Meng DU, Li-guo ZHAO
China Journal of Highway and Transport
, 2024, 37(
1
): 91-106. DOI:
10.19721/j.cnki.1001-7372.2024.01.008
弹性模量(瞬时)/MPa
抗压强度/MPa
抗弯强度/MPa
黏结强度/MPa
劈裂抗拉强度/MPa
可操作时间/min
凝结固化/h
≥8 000
≥80
≥60
≥14
≥10
40
12
Table 2
Properties of Zhongde Xinya Epoxy Resin Adhesive
Other figure/table from this article
Fig. 1
Prototype Size Drawing of Test Beam (Unit: mm)
Fig. 2
Two Types of Key Teeth Arrangement and Dimensional Drawings (Unit: mm)
Fig. 3
Test Beam Construction Drawing (Unit: mm)
Fig. 4
Test Procedure
Table 1
Concrete Mechanical Properties
Fig. 5
Steel Beam Layout (Unit: mm)
Fig. 6
Measurement Points Layout
Fig. 7
Loading Diagram
Table 3
Summary of Test Results
Fig. 8
S1 Test Beam Damage Diagram
Fig. 9
S2 Test Beam Damage Diagram
Fig. 10
S3 Test Beam Damage Diagram
Fig. 11
S4 Test Beam Damage Diagram
Fig. 12
Segmental Beam Damage Joint Section Key Teeth Damage Pattern
Fig. 13
Load-displacement Curves
Fig. 14
Displacement Curves
Fig. 15
Load-crack Width
Fig. 16
Segmental Beam Load-prestressed Tendon Stress Curves
Fig. 17
Test Beam Load-concrete Strain Curves
Fig. 18
Uniaxial Stress-strain Curve of Concrete
Fig. 19
Three-dimensional Finite Element Solid Model
Table 4
Comparison Between Tested Results and Predicted Results
Fig. 20
Vertical Displacement Load Comparison for Test and Finite Element
Fig. 21
Stress Nephogram of Male and Female Key Teeth of Segmental Beam (Unit: MPa)
Fig. 22
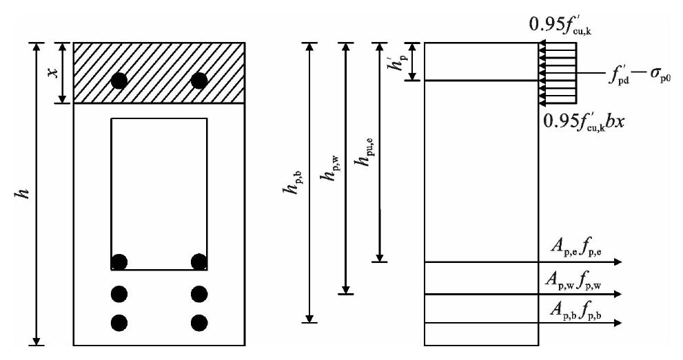
Calculation Chart
Table 5
Comparison Between the Calculation on Results and the Test Results